* TinkerDifferent *
Retro Computing Community
Home | Forums | What's New | Search | Settings
Where can I find pinouts of HDI-20 and HDI-30 ports? Trying to make an adaptor so I can use my HDI-20 external floppy on the powerbook 145B

Forums > Vintage Apple > PowerBooks & iBooks > PowerBook (68k-based)

MacManiac
New Tinkerer
--------
Joined: Sep 24, 2024
Posts: 27
Likes: 6
Sep 6, 2025 - #1
Hi I recently got an external hdi-20 floppy for my 145b. When I got it I realized that there was no port for it. I couldn't find any adaptors for the hdi-20 floppy to plug in an hdi-30 port, so I decided to make my own by bridging wires with headers It's going to be bulky but it will do up until I find a proper adaptor. That is if I can find the correct pinouts of both ports.

wottle
Active Tinkerer
Fort Mill, SC
--------
Joined: Oct 30, 2021
Posts: 841
Likes: 577
Sep 7, 2025 - #2
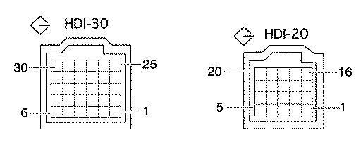
Unless I'm missing something, the HDI-30 was a SCSI connector. Not sure you could use it to connect a floppy drive.



Here's the Pinout numbering for both (noted at top of the "Ports and Pinouts" document "The pin numbers shown are for the connectors attached to the ends of the Macintosh"):



[Image: 1757210355156.png] [Image: 1757210412094.png]

Also, if you're looking to make a more easily recreatable product, you could possibly take inspiration from my creation of an HDI-45 adapter. I basically used a PCB and long header pins to make an adapter PCB, then 3d printed a shroud to aid in alignment and stability. Let me know if you need any details. I likely didn't do it the correct way, since it was my first attempt at a PCB design and my first attempt at a 100% from scratch 3D design. https://tinkerdifferent.com/threads...b-15-connectors-for-video-out.4056/post-35702
Attachments:
1757210653599.png [View]
1757210084839.png [View]
1757210355156.png [View]
1757210412094.png [View]

Liked by MacManiac

MacManiac
New Tinkerer
--------
Joined: Sep 24, 2024
Posts: 27
Likes: 6
Sep 8, 2025 - #3
>> wottle said:
Unless I'm missing something, the HDI-30 was a SCSI connector. Not sure you could use it to connect a floppy drive. View attachment 23092 Here's the Pinout numbering for both (noted at top of the "Ports and Pinouts" document "The pin numbers shown are for the connectors attached to the ends of the Macintosh"): View attachment 23089 View attachment 23090 View attachment 23091 Also, if you're looking to make a more easily recreatable product, you could possibly take inspiration from my creation of an HDI-45 adapter. I basically used a PCB and long header pins to make an adapter PCB, then 3d printed a shroud to aid in alignment and stability. Let me know if you need any details. I likely didn't do it the correct way, since it was my first attempt at a PCB design and my first attempt at a 100% from scratch 3D design. https://tinkerdifferent.com/threads...b-15-connectors-for-video-out.4056/post-35702 Click to expand...
Thanks but I just discovered that hdi-20 connector is for floppy only. And hdi-30 is SCSI. I don't think I can do it, because the pins are very diffrent.

Page 1 of 1

Home | Forums | What's New | Search | Bookmarks | RSS | Original | Settings
XenForo Retro Proxy by TinkerDifferent.com